175
SIGNL - FEHLER-Signalisierungssteuerung
Variantengültigkeit
Funktionen des AMO
Fehler-und Hinweismeldungen
Querbeziehung
Parameterbeschreibung
Systemsicherheitstechnik (DEP-S) und Vermittlungstechnik (VT) senden Fehler- und Hinweismeldungen an die Signalisierungstask (SIT). Die SIT bereitet die im Format unterschiedlich strukturierten Meldungen auf und verteilt sie als
Signalisierungsmeldungen (SIM) an definierte Ausgabegeräte.
Diese Signalisierungsmeldungen sind selektierbar und unterdrückbar. Die dafür notwendigen Informationen befinden sich in der Datenbasis ADS in den Tabellen SDT (Signalling Distribution Table) und FET (Fehler-Element-Tabelle) -siehe Servicehandbuch Diagnose.
Es ist Aufgabe des AMO-SIGNL (Signalling Control)
1.
die Meldungssignalisierung zu manipulieren, d.h. ob und an welche symbolischen Geräte Meldungen zu signalisieren sind;
2.
die vom AMO-SIGNL verwalteten Daten zu regenerieren;
3.
eine SIT-interne Fehlerstatistiktabelle auszugeben und zu löschen;
4.
den Alarmspeicher (ALM) in der Attendant Console (Vermittlungsterminal) Task zu löschen (siehe Servicehandbuch Diagnose: ’Fehlerdiagnose’);
5.
die Fehlerelement-Sondertabelle (FST) zu verwalten (Tabelle der SIT zur Steuerung der Priorität von Meldungen abhängig von der Aktion).
6.
die Schalterfunktionen IMPTMSG (important message), FILTER, ALLMSG(all messages) und SHORTFM(short messages) mit den fuer diese Funktionen konfigurierten Ausgabegeraeten der SIT verfuegbar zu machen. Dabei ersetzt die Funktion ALLMSG die bisherige Einstellung über F1000.
7.
die F-Nr. individuellen Texttabelle (FMTEXT) zu verwalten (Tabelle der SIT zur Steuerung der Ausgabe von F-Nr mit individuellem Text). Es können 30 Texte eingegeben werden.
8.
Systemdaten wie Zustand der SWU, ALUM, Referenztakt, Alarme usw. auszugeben.
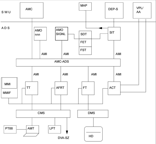
Die funktionelle Einordnung des AMO-SIGNL in das AM-OS zeigt Bild 1.
Bild 23
Stellung des AMO-SIGNL in der Hicom-Software.
Begriffserklärung
Eine aufbereitete Signalisierungsmeldung (SIM) besteht gemäß Kapitel ’Format der Ausgabemeldung’ im Band ’Sicherheitstechnik’ aus Kopfzeile und wahlweisen Zusatzzeilen. Ein Beispiel ist unten gezeigt.
Die Komponenten der Kopfzeile sind:
1.
Meldungsidentifikation (MID) mit Schlüsselkennzeichen KZ (1stellig) und Meldungsnummer NR
2.
Priorität für die Fernbetriebstechnik KZ (2stellig) und Nummer (1stellig)
3.
Laufende Nr. der Meldung
4.
Aktion
5.
Absendermodul
6.
Fehlerklasse (EVENT), F1-Feld
7.
Fehler (SUBEVENT), F2-Feld
8.
Datum
9.
Uhrzeit
Die Komponenten 4,5,6 und 7 sind in der Empfangsmeldung enthalten und werden mit Texttabellen aufbereitet.
Die Komponenten 1 und 2 fügt die SIT über die SDT aus der FET hinzu.
Für jede Signalisierungsmeldungsklasse sind in der SDT definiert:
•
EVT_STATE
:
zur Bewertung der EVT-Signalisierung
SEV_TYPE
:
zur Bewertung der SUB-EVT
E_M_IDX
:
Fehlerklassen-Mask-Index
FE_NUM
:
Anzahl der Fehlerelemente des EVT
FET_IDX
:
Startindex des EVT in der Fehlerelementtabelle.
Für jede Signalisierungsmeldung, d.h. für Fehlerelemente (RS_SUB_EVT), innerhalb einer Meldungsklasse sind in der FET (DA_S_ST_FET_ARRAY) definiert:
•
S_FREE
:
Kennzeichen zur Signalisierung des Fehlerelementes
•
MSG_ID_KEY
:
Schlüsselkennzeichen der Message identifikation
’A’ Alarm
’F’ Fehler
’H’ Hinweis
’U’ undefiniertes Fehlerelement
•
MSG_ID_NO
:
Nummer der MSG_ID im Bereich von 1000 - 9999
•
AFR_PRIO
:
Priorität für AFR (bestehend aus Schlüssel KZ und NR )
’E’ eindeutiger Fehler
’M’ mehrdeutiger Fehler
’1’-’9’ Priorität
•
DEV_ACT
:
aktuelle symbolische Geräte (devices) für SIM-Ausgabe
•
DEV_KONF
:
konfigurierte symbolische Geräte (devices)
S_M_IDX
:
SEV/Fehler-Textmasken-IDX für Feld F2 der SIM Kopfzeile
Die mit ’•’ gekennzeichneten Komponenten kann der AMO manipulieren.
Die Ausgabe der aufbereiteten SIM erfolgt auf definierten logischen Geräten, denen entsprechende physikalische Geräte zugeordnet sind.
Symbolische Geräte der SIT sind:
DPT1 Betriebsterminal
DPT2 Drucker
DPT3 Unbenutzt (z.B. Reserve für Filetask)
DPT4 HISTO file
NDP4 Keine Ausgabe auf HISTO file, auch bei ALLMSG für DPT4
AC Vermittlungsterminal (AC)
MAP Wartungs- und Alarmfeld
AFR1 Automatic Fault Report (multiple destination 1)
AFR2 Automatic Fault Report (multiple destination 2)
AFR3 Automatic Fault Report (multiple destination 3)
Hinweis
Zum MAP gibt die SIT lediglich die Komponente ZUSTAND der empfangenen Fehler- oder Hinweismeldung aus.
Signalisierung:
1. Normalformat
1 2 3 4 5 6 7 8 9
F5345 M4 N0043 NO ACT A1 BOARD INIT ERROR 99-04-01 23:59:59
ALARM CLASS:CENTRAL:000
** :LTG1 :LTU0 :000: 0 : 0 Q2041-X SLMA BST:01 FW: HIRS-C
FORMAT:43 MESSAGE-ID: -- MESSAGE OF
REASON: H10 LOADWARE TRACE DATA
IP-ADDRESS: 160.1.2.179
DEVICE NAME: DEV_GERM
EXTENSION NUMBER: 32519
2. Kurzmeldung (SHORTFM) an Vermittlungsplatz
F5345 M4 N0043 NO ACT A1 BOARD INIT ERROR 99-04-01 23:59:59
** :LTG1 :LTU0 :000: 0 : 0 Q2041-X SLMA BST:01 FW: HIRS-C
3. Kurzmeldung (SHORTFM) an sonstige Geräte
F5345 M4 N0043 NO ACT A1 BOARD INIT ERROR 99-04-01 23:59:59
ALARM CLASS:CENTRAL:000
** :LTG1 :LTU0 :000: 0 : 0 Q2041-X SLMA BST:01 FW: HIRS-C
Fehler-Nr individuelle Texttabelle (FMTEXT)
Fuer individuell angegebene Texte zu einzelnen F-Nr. existiert eine Tabelle (max. 30 Eintraege) die vom AMO-SIGNL verwaltet wird.
Jedes Element enthaelt folgende Komponenten:
MSG_ID_KEY
:
Schlüsselkennzeichen der Message identifikation
’F’ Fehler
MSG_ID_NO
:
Nummer der MSG_ID im Bereich von 1000 - 9999
TEXT
:
Textstring von max. 74 Zeichen
Wenn eine bestimmte Fehlermeldung als Kurzmeldung (SHORTFM) auszugeben ist, und zu diese F-Nr. existiert ein individueller Text, dann wird dieser Text and die Kurzmeldung angehängt (s.u.).
Schalter-Funktions Tabelle (SWITCH_TAB)
Fuer die Schalterfunktionen
•
IMPTMSG : important messages (Restart Meldungen und special events) unabhängig von sonstigen Einstellungen auf das/die angegebenen Geräte(e) ausgeben,
•
FILTER: nur service relevante Meldungen auf das/die angegebenen Geräte(e) ausgeben, alle anderen unterdrücken),
•
ALLMSG: alle Meldungen unabhängig von sonstigen Einstellungen auf das/die angegebenen Geräte(e) ausgeben
und
•
SHORTFM: Meldungen in Kurzform auf das/die angegebenen Geräte(e) ausgeben. Dabei gibt es eine spezielle Kurzform für den AC. Im Falle SHORTFM wird zusätzlich ein eventuell eingerichteter individueller Text ausgegeben.
existiert eine Tabelle, die vom AMO-SIGNL verwaltet wird.
Die zu konfigurierenden Geraete der Schalterfunktionen sind:
DPT1 Betriebsterminal
DPT2 Drucker
DPT3 Unbenutzt (z.B. Reserve für Filetask)
AC Vermittlungsterminal (AC)
AFR1 Automatic Fault Report (multiple destination 1)
AFR2 Automatic Fault Report (multiple destination 2)
AFR3 Automatic Fault Report (multiple destination 3)
Hinweis
DPT4 hat immer den Modus ALLMSG und Normalformat, der nicht geaendert werden kann.
Fehlerelement-Sondertabelle (FST)
Bei bestimmten Fehlernummern ist es notwendig, die Priorität (wichtig für die Fernbetriebstechnik) abhängig von der jeweiligen Aktion zu ermitteln. Zu diesem Zweck existiert eine lokale Tabelle der Signalisierungstask (SIT), deren Verwaltung der AMO-SIGNL übernimmt.
Jedes Element (DA_M_ST_FE_STAB_ELEM_STR) der FST (DAD_S_ST_FE_STAB) enthält folgende Komponenten:
•
MSG_ID_NO
:
Nummer der MSG_ID im Bereich von 1000 - 9999
Initialisierung: DA_Y_ST_E_KZ_FE_STAB
•
ACTION
:
Aktion der Sicherheitstechnik (DB_M_RS_ACTION_SET)
nitialisierung: DB_RS_NO_ACTION
•
AFR_PRIO
:
Priorität für AFR
’E’ eindeutiger Fehler
’M’ mehrdeutiger Fehler
’1’-’9’ Priorität
Initialisierung: ’M4’
OpenScape 4000 V10, Band 1: AMO Beschreibungen, Servicedokumentation, Ausgabe 12
, ID:
P31003H31A0S107120020
Copyright ©
Unify Software and Solutions GmbH & Co. KG
03/2024
- All rights reserved.