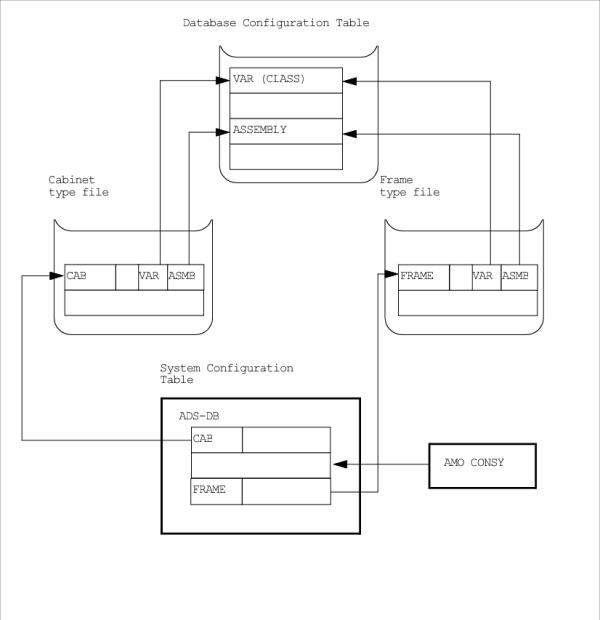
51 CONSY - Administration of System Configuration Data

Table 8
From the variant HICOM Unity 1.0 the handling of cabinets and shelfes have a particularity. The LTU range is divided in two parts: HHS (HICOM Host System) and AP (Access Point). The available values of the ranges are: HHS 1-15 and AP 17-99. The LTU 16 is forbidden. There are existing shelfes which are allowed only in HHS and others which are allowed only in the AP range.
Figure 5